T321-36 H.tankopuristin 900mm Carver C301188
Ainutlaatuinen roiskesuojaus suojaa säätöruuvia hitsauksen roiskeilta. Jousikuormitteinen leuka pysyy paikoillaan kun puristus löysätään. Myös kulmalliset kappaleet voidaan kiinnittää turvallisesti. Kiristäminen ei pyöritä työkappaletta.
Kokoamiseen, hitaukseen, koneistukseen, ylläpitoon ja huoltotöihin.
Enimmäiskuormitus
- T186: 11 300 N
- T321: 5 650 N
- Valmistaja Carver
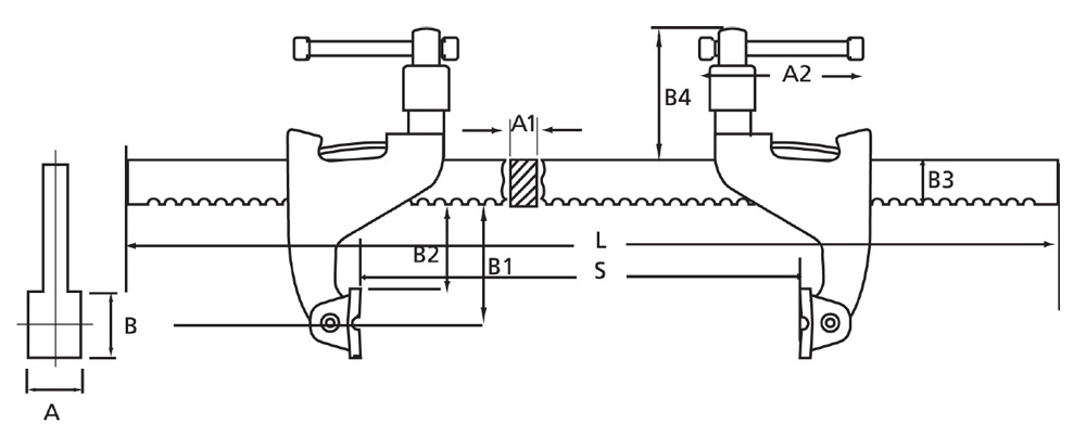
- Kitasyvyys 120
- Paino kg 4,5
- Kiristysväli 900

